Распродажа
Новинки
Уценка
Снова в продаже
Скоро
в продаже
Вход
Регистрация
Товаров в корзине
+1
ПОИСК
Категории
...
Коллекционные модели
Инструмент
Краска, химия, материалы
Маски
Каталоги, Книги, Журналы
Сборные модели
Фототравление
Боксы и стеллажи
Журнальные серии
Игрушки
Радиоуправляемые модели
Сувениры
Concept Car
Автоспорт
Аэродромная техника
Военные
Кино
Медицина
Пожарные
Полиция
Почта / mail
Спецслужбы
Строительная техника
Такси
Производители
...
128
12ART-FINE-MODEL-CARS
3D Karton
3DF Express
3DM
4D-CITYSCAPE
50CC Legends
596Model
78art
A-Model
AA Models
Aber
Abordage
Abrex
Absolute Hot
Abteilung502
Academy
Accurate Miniatures
ACE
ACE Model Cars
Action Racing Collectibles
AD-Modum
Advanced Modeling
Aeroclub
AFV club
AGM
AHC Pilen Doorkey
AIM Fan Model
Aires
AirFix
AJ Model
AK Interactive
AKhobby
Alan
Alanger
ALARME
Albedo
Alclad II
ALERTE
Alex Miniatures
Alezan
ALF
ALFAMODEL-43
Alloy Car
ALMA-models
Almost Real
ALR
Altaya
AMA Models
Amalgam
Amercom
American Diorama
American Heritage Models
AMG Models
Amigo Models
Amjo Boxes
AMK
AML
AMMO MIG
Amodel
Amour
AMP
AMR
AMT
Amusing Hobby
Anson
Answer
AnyMe
Aoshima (DISM)
Apex Racing
Applywood workshop
Ardpol
ARK models
ARM.PNT
Arma Models
Armada Hobby
ArmaHobby
ARMCO Model Cars
ArModel
ARMOR35
Armory
Armour Collection
ARS Model
Art Model
ART-model
Artitec
Ascensio
ASK Models
ASQ
Asuka Model (ex Tasca)
AT Collections
ATC
Athearn
Atlantic
Atlantis
Atlas
Audi Museum
Auhagen
Aurora Hobby
Authentic Collectables
Authentic Decals
Auto Star
Auto World
AutoArt
Autobahn / Bauer
autocult
Autodrive
AUTOMAXX
Automodelle AMW
Automodello
Autotime / Autogrand
Avanstyle (Frontiart)
Avart Arhive
AVD Models
AVD дополнения
Avis
AWM
AZModel
Azur
Bachmann
Balaton Modell
Bang
Bare-Metal Foil Co.
Bauer
Baumi
BBR
Bburago
Begemot
BeKa
BELAZ
Best Model
Best of Show
Betexa
Biante
Bilek
Bing
BisonDecals
Bizarre
black dog
BlackBox
Bliss Mold
Blu Tack
Blue Rider
BM Creations
BM-Toys
BMW dealer
Bobcat
Bobcat dealer
Boley
Bolidi
Bolt&Co
Border Model
BOX-MODEL
Bravo-6
Brekina
Brengun
BRITAINS
Bronco
Brooklin Models
Bruder
Brumm
Brumos
BS Design
BSC Briscale - Micro
BSM
Bubmobile
Busch
by AK
By Volk
Caesar miniatures
CAL
Capitan
Car Badge
Car's Lounge
Cararama / Hongwell
Carline
CarNel
CAROUSEL
Carrera
Cartima
Cartrix
CBModels
Celero
Centauria
Century
Century Dragon
Century Wings
CHAMAELEON
CHIEFF Models
China Models
CHROMES
CHRONO
Classic 43
Classic Airframes
Classic Carlectables
Classicbus
Classy Hobby
CLC Models
ClearProp
CM Model
CMC
CMD
CMF
CMJ
CMK
CMR
CMW Classic Metal Works
Colibri Decals
Collector's Classics
CON-COR
Condor
Conrad
Contact
Copper State Models
Corgi
Corsar Rex
Crazy Classic Team
CrazyHands
Creative Masters
Crown Premiums
Crow_STUDIO
Cult Scale Models
Cursor
Cutting Edge Modelworks
CYBER HOBBY
Czech Master Resin
D.N.K.
Daffi
Danbury Mint
DANmodels
Dark Dream Studio
Darkside
Das Werk
DAS-customs
DasModel
DAYdiecastETCH
DCM Ghost Player
DCN Model
DCT
DD-MODELS
DeAgostini
Decal Shop
DECOOL
Del Prado
DeMauri
Demprice
DenisssModels
Denver Diecast
DES-Models
DetailCars
DiamondLabel
Diapet
Dickie Spielzeug
Die-cast at home
Die-Cast super
DieCast Legends
DieCastTeam Shadow
Different Scales
Dinky Toys
DiOlex Production
Diopark
DioramaTech
Dioramatoys
DiP Models
Direkt Collections
Distler
DM Modelkits
DM-MODELS
DMA Hue Studio
DMH
DNA
Doctor Decal
Dong Guan
Dora Wings
Dorlop
dorozhnik43
Dragon
Dream Model
DSPIAE
Dugu
Dukase
DUPLI COLOR
DVC
DWWT
DZD
Eaglemoss
Easy Model
Ebbro
Eco-Wood-Art
Edison Giocattoli
Edmon Studio
Eduard
Efsi Toys
Eidai Grip Corporation
Eidolon Make-Up
EKO
ELF
Eligor
Eman
Emboss
EMC Models
Emek
Enchery
ENGUP
Enterbay
ERA
ERTL
ESCI
Espewe Modelle / VEB Berlinplast
Esval Models
EUREKA XXL
EuroModell
Evergreen (USA)
Evolution Miniatures
EVR-mini
EVRAT
EWA
Exact Detail
Excel
Exoto
EXPRESSO WINGS
EXTRA MODEL
Extratech
Falcon Models
Faller
Fantasy Warrior
Fazo_lab
Feelin_3d
Feelslike-Model
Fengda
Figuma
Figutec
Fine Molds
FinMilModels
First 43 Models
FIRST GEAR
First Response
First to Fight
FLAGMAN
Fly
Fly Car Model
FlyHawk Model
Focal Horizon
Forces of Valor
Fore Hobby
Format72
Forward-68
Foxtoys
Franklin Mint
FRANSTYLE
Franzis
Freedom Models
Friki Monkey
Friulmodel
From Japan
Frontiart
FUGU_GARAGE
Fuji
Fujian
Fujimi Mokei
Fury Models
G-Fans Models
Gaffe
GAMA
Garage
Garbuz models
Gartex
Gaso.Line
GCD
GE Models
Gearbox
GearUp
Gecko-Models
GeminiJets
Gems & Cobwebs
GENUINE FORD PARTS
GFCC
GIM
Ginaf
GK Racer Series
Glencoe models
GLM
GMP / ACME
GMU Model
Gold Medal Models
Golden Wheel Models
Goldvarg
GolubModels
GONIO
GoNzA
Gorky Models
GP Replicas
GPM
Grani & Partners
Great Wall Hobby
Green Stuff World
Greenlight
Grell Werbemittel
Gremlin Models
Griffon
Group Masters
GT Autos
GT Spirit
GTI Collection
Guiloy
Guisval
GunTower Models
Hachette
HADmodels
Halinski
Hamilton
Harder_Steenbeck
Hartoy Inc.
Hasbro
Hasegawa
Hat Plastic Models
Hauler
HC Models
Heavy Hobby
HECO Modeles
HedgeModels
Heki
Heller
Herpa
Hi-Story
High Speed
Highway 61
Historic
HK Models
Hobby 2000
Hobby Boss
Hobby Club
Hobby Design
Hobby Fan
HOBBY GEAR
Hobby Horse
Hobby I Work
Hobby Master
Hobby Model
Hobby Planet
HobbyCraft
HobbyJapan
Holland Oto
Homer
Hot Wheels
Hot Wheels Elite
HPI
HRN-Models
Humbrol
Husky Models
I Love Kit
i-Scale
IBG Models
ICM
Iconic Replicas
ICV (СПб)
Ideal Toy Corp.
IGNITION-MODEL
IGRA
Ilario
IMU
Industria Mechanika
Inflight 200
ING SmallCarArt
Inno Models
Interus
IOM-KIT
IST
ISTPlus
Italeri
IVY
IXO
J-Collection
JACO
Jada Toys
JADAR
Jadi
Jaegerndorfer Collection
Jaguar Models
JAS
JB Modellautos
Jewel Cases
JF Creations
Jim Scale
JKM
Joal
John Day Models
Johnny Lightning
Jolly Model
Jouef Evolution
Joy City
JTK
JY Model
K-Model
Kaden
Kaido House
Kajika
Kamaz Master
Kangnam
Kartonowa Kolekcja
Kato
Kaupang Miniatures
KAV models
KDW
Kempal
KengFai
KenToys
KEPmodels
KESS Model
Kibri
KievModel HO
Kilo Works
KILOWORKS
Kinetic
King star
Kinsmart
Kitech
Kitty Hawk
KK Scale
kkav-kits
Kolokolnikov.Studio
Kondor
Konoos
KORA
Korean models
KOVAP
Kovozavody Prostejov
KP Models
Kraft Lab
Kremlin Vehicle park
Kuivalainen
KV Decol
KV Models
Kyosho
K_S Precision Metals
L-Model
La Mini Miniera
LA-X
Lada Image
Lancer
Lang Feng Model
Laser Hobby
Lastochka
Laudoracing-Models
LCD MODELS
Le Mans
Le Mans Miniatures
Leadwarrior
Legend Productions
Legends of Racing
LEGO
LeGrand
LemonCraft
LenmodeL
Leo Models
Lev Resin
LeX models
Liberty64
LIFE in SCALE
Life Miniatures
LifeColor
Lindberg
LION CAR
Lion-Toys
LionRoar
Little dump
LiveResin
Lledo
Looksmart
Louis Surber
LP Models
LS Collectibles
LSModel
Lucky Models
Lucky Plan
Luppa
LUSO-toys
Luxcar
LUXCASE
Luxury Collectibles
Luxury die-cast
M-Smart
M2 Machines
M4
M64X Collections
MAC Distribution
Macadam
MACHETE
Made in GDR
Magic Factory
Magic Models
Maisto
Majorette
Make Up
MAKSIPROF
ManWah
Maquette
MARK43
Marklin
MARS
Mars Models
Marsh Models
MARTIN
Maserati Models
Massdi SmallCar
MASTER
Master Box
Master Diecast
MASTER KORABEL
Master Model
Master Tools
Mastercast
MasterClub
MasterCraft
Matchbox
Matrix
Mattel
Max-Models
Maxi Car
MAXI COLOR
Maxichamps
Maxima Scale
MaxModels
MBH Models
MC models
MCW
MD-models
Mechanic
Meng
Mercury
Merit
Metallic Details
Metro
Micro Scale Design
Microturbo
MIG productions
MIL Customs
Milestone Miniatures
MilitaryWheels
Mini GT
MINI HELMET
MINI MAN
Minialuxe
Miniarm
MiniArt
Miniaturmodelle
Minibase
Minichamps
MiniClassic
Minicraft
MiniCraft Scale Models
MiniHobbyModels
MiniManFactory
MINIPARTES
MiniTank
MiniWarPaint
MIRA
Mirage Hobby
Mirror-models
Mission Model
MISTERCRAFT
Mitica
MixAuto
MJ Diecast
MK Modelle
MK models
MK-MINIATURES
MMP
Model Box
Model Depo
Model Point
Model-Icons
ModelCarGroup
Modelcollect
Modeler
ModelGun
modelk
ModellingMaster
ModelLux
ModelModel
ModelPro
ModelSvit
Modimio
MODUS 90
Moebius Models
Molotow
Mondo Motors
Mondsee
Monogram
Montana
MONTI SYSTEM
Moon
Morem
Morrison
Mortal Model
MosKit
Mot Hobby
Motip
Motor Max
Motorama
Motorart
Motorhead
MOTORHELIX
MotoScaleModels
MPC
MPM
MQM
MR Collection
MR-MODELS
Mr.Hobby
MTech (M4)
MXpression
MY64
Nacoral S.A.
NEO
Neomega
Neverland Hobby
New Penguin
New Ray
NH Detail
Nickel
Nik-Models
Nitto
NMD
Noch
noname
Norev
Norscot
NorthStar Models
Nostalgie
Novacar
NVA
NZG Modelle
Odeon
OFFICINA-942
OKB Grigorov
Old Cars
Old Garage
OLDCARS
OLFA
Olimp Models
Olm Design
One by One Production
ONYX
Opus studio
Original Miniatures
Orion
ORNST model
Otto Mobile
OVB
Ovs-Decals
Oxford
Pacific88
Palma43
Panda Hobby
PANTHEON
PanzerKampf
Panzerstahl
Paragon
Part
PasDecals
PasModels
Paudi Models
Paul Model
Pavla Models
PB Scale Models
PEAKO
Pegas-Models
Pegasus Hobbies
Pego
PEPELATZ
PERFEX
Perka
Permot
Phoenix Mint
Piko
PinKo
Planet models
Platz
Plusmodel
PMS
Pocher
Polistil
PoliToys
POPRace
Porsche Museum
Postage Stamp
PosterCars
Potato Car
Praline
Precision Miniatures
Preiser
Premium ClassiXXs
Premium Collectibles
Premium Scale Models
PremiumX
Premo
Print Scale
ProDecals
Progetto K
Prommodel43
Prop&Jet
Propagteam
Provence Moulage
PST
Pt Models
Q-Model
Qidian Model
Quartzo
Quickboost
Quinta Studio
Quiralu
R-TAG
R.A.M.I.
R.V. AIRCRAFT
Racing Champions inc.
Radscale Models
RAI'S
Rare Car Models
RARESIN
RAROG
Rastar
RB Model
RB productions
RBA Collectibles
RE-EL TOYS
Real Art Replicas
Rebel Custom
Record - M.R.F.
Red Box
Red Iron Models
Red Line
Renn Miniatures
Renner Werbemittel
Replicars
ResKit
Rest Models
RETRO LINE
Retro Wings
Revaro
Revell
Revive
Rextoys
REXx
Rhino Model
Ricko
Rietze
Riich Models
RIO
River Point Station
RMZ Hobby
RO MODELS
Road Champs
Road Kings
Rob-Taurus
Roco
RODA models
Roden
ROS
Roskopf
Rosso
Rosso & Fly
Roubloff
RPG-model
RPM
RS Models
RT models
Ruppert Kopp
RusAir
Russian collection
Rye Field Model
S-Model
SAB-Models
SABRE
SabreKits
Safir
Saico
Sarmat Resin
SB box
SBS Model
SC Johnson (USA)
Scale 48
Scale For Soul
scale164
ScaleGarage
ScaleMasters
Scalemotorsport
scale_work
Schabak
Schuco
Schwyn Haas
SCT
SE Modell
Seal Model Kit
SEAT
SES Automodelle
SG-Modelling
Shelby Collectibles
Shuriken
Signature
SIKU
SILAS
SIO Models
SJO
Skale Wings
SKIF
Sky Marks
Sky-High
Smer
SMM
SnakeModel
Sochi 2014
Solido
Sonstige
SophiArt
South Front
SOVA-M
Soviet Armour
Spark
SpAsov
Special Hobby
SSModels
Stalingrad
Stance Hunters
Starline
Start Scale Models
Starter
STC
STC START
STM
Storm Factory
Strelkov
Studio Perfect Model
Sullen-Modelist
Sunnyside
Sunstar
Sunyork Model
Super A
Supercar Collectibles
Supermodel
Suyata
Sword
SX-Art
T-Model
T.R.L. Model
Takom
Tameo KITs
Tamiya (J)
TANMODEL
Tarangus
Tarmac
TAYUMO
Team Caliber
Tech3
Techart
Tecnomodel
Tekno
Tema Toys
Temp models
Tesla
Testors
Thunder Model
Tic Toc
Tiger Model
TimeMicro
Tin Wizard
Tins' Toys
Tiny Toys
Tippco
TMTmodels
TOGA
Toksovo
Tomica Tomytec
Tomy
Tonkin Replicas
Top Marques
Top Model
TOP10
TopSpeed
Touring
Toxso Model
Toyeast
ToyWays
Trax
Triple 9
Tristar
Trofeu
Trux
TSM Model
Two Eleven Model
UCC Coffee
Ultimate Diecast
ULTRA models
UM Military Technics
UM43
UMI
Unimax
Unique Replicas
Universal Hobbies
unoMAG
UpRise
UStar
UT Models
V.V.M / V.M.M.
V43
Vallejo
Valom
vanamingo-nn
Vanbo
Vanguards
VAPS
Vector
Vector-Models
VeeHobby
Vehicle Art
Verem
Very Fire
Vespid Models
VETRINA DISPLAY BOX
VF Drivers
Victoria
Vintage Motor Brands
VIP Scale Models
VIPcar
Vitesse
Vixen
VM models
VMB-MODELS
VMmodels
Vmodels
VOIIO
Vollmer
Volvo dealer model
VoyagerModel
Vrudik
W-model
W.M.C. Models
War Master
Warhammer
Wasan
Waterloo
Weise
WELL
Welly
WEM
WEMI Models
Werk83
Western Models
Wheels
Whelart
White Box
White Rose
Wiking
Wilder
Wingsy
WinModels
WITs
WIX Collectibles
WM KIT
Wood Hunter
Woodland Scenics
WSI
XcarToys
XiaoGuang Model
XQ
Xuntong Model
YAN Model
Yat Ming / Lucky Die-Cast
YS Models
YVS-Models
Z-Models
Zack Atak
Zebrano
Zedval
Zimi Model
Zip-maket
ZISS-Modell
ZZ Modell
А.М.Т.
аRтБаZа
АБ-Моделс
Авто-бюро
Автоистория (АИСТ)
Автомодель 43
Автопанорама
Автопарк
АГАТ
Адам Жуковский
АиФ
Акан
Аксессуары для диорам
Альтаир ИГРУШКИ
АМформа
Антонюк
артель Универсалъ
Ателье Etch models
АтомБур
Беркут
Бригадир
Витязь
ВМТД
Военная летопись
Военная Миниатюра
Войны и битвы
Волжский инструмент
Восточный экспресс
ВЭС (Воронеж)
Гараж на столе
ГРАНЬ
Грузы в кузов
Декали Boss
Декали ModelLux
Декали SF-Auto
ДиК
Дилерские модели БЕЛАЗ
Другой
ЕКБ-models
Звезда
Империалъ
Казанская лаборатория
КАМОРКА
Кар Слайд
Киммерия
КОБРА
КолхоZZ Division
Комбриг
Компаньон
Конка
Красный автомобиль
Латунный мастер
Литература (книги)
ЛОМО-АВМ
Мажор Моделс
мастер Dimscale
мастер Войтович
Мастер Дровишкин
Мастер Захаров
мастер Колёсов
мастер Лепендин
Мастер Роганов
Мастер Скаляров
МастерПигмент
Мастерская Decord
Мастерская Fm_Lab
мастерская JR
Мастерская SEC
Мастерская АВТОДОР
Мастерская АТМ
Мастерская ГоСТ
Мастерская Знак
Мастерская КИТ
Мастерская МЕЛ
Мастерская РИГА
Мастерская СКЕЙЛ
Маэстро-моделс
Мелкосерийка 43
Микродизайн
МикроМир
Миниград
Минимир
Мир Моделей
Модел.лаб
МОДЕЛИСТ
Моделстрой
Модель-Сервис
Модельхимпродукт
Моя модель
МП Пересвет
МР СТУДИЯ
Наш Автопром
Наш масштаб
Наши Грузовики
Наши Танки
Огонек
ОтВинта
ПАО КАМАЗ
Петроградъ
Пламенный мотор
Планета Патворков
Победа
Прапор
Престиж Коллекция
Промтрактор
ПТВ Сибирь
ПУЗЫРЁВЪ
РетроЛаб
Русская миниатюра
Ручная работа
САИС
Сарлаб
СВ-Модель
Сделано в СССР
Сергеев
Сибртех
СМУ-23.S
Советский Автобус (СОВА)
Солдатики
СоюзМакет
СПБМ
СТАРТ 43
Студия КАН
Студия Колесо
Студия МАЛ
Студия Офицер
Студия_1727
Танкоград
ТАРАН
Темэкс
Технолог
ТехноПарк
Три А Студио
Три Богатыря
Трубач
ТРЭКС
Уральский Сокол
Фарфоровая Мануфактура
Финоко
Хася Моделист
Херсон-Моделс
Цейхгауз
ЧЕТРА
Э.В.М.
Экипаж
Эконика
ЭЛЕКОН
Эскадра
Юный коллекционер
Марки моделей
...
Abarth
AC
Acura
ADLER
AEC
AGUSTAWESTLAND
ALFA ROMEO
ALPHA TAURI
ALPINE
ALVIS
AMC
AMERICAN LaFrance
AMPHICAR
Armstrong
ARO
Arrows
ARTEGA
ASCARI
ASTON MARTIN
AUBURN
AUDI
AUSTIN
Austro Daimler
AUTO UNION
Autobianchi
AVIA
AWZ
BAC
BARKAS
Barreiros
BATMOBILE
BEDFORD
BEIJING
Benelli
BENETTON
BENTLEY
BERLIET
BERNA
BERNARD
BESTURN
BIANCHI
BIZZARINI
BLUEBIRD
BMW
Bobcat
BORGWARD
BRABHAM
Brawner-Hawk
BRISTOL
BRM
BROSSEL
BUCCIALI
BUFFALO
BUGATTI
BUICK
BURLINGHAM
Bussing
BWT
BYD
CADILLAC
CAPARO
CASE
CATERHAM
CATERPILLAR
Changan
Changhe
CHAPARRAL
CHAUSSON
CHECKER
CHEETAH
CHERY
CHEVROLET
CHEVRON
CHRYSLER
CISITALIA
CITROEN
CIZETA
COBRA
COMMER
Cooper
COPERSUCAR
CORD
CORVETTE
CORVIAR MONZA
Csepel
DACIA
Daewoo
DAF
DAIHATSU
DAIMLER
DALLARA
DATSUN
DE DION BOUTON
De Soto
DE TOMASO
DELAGE
DELAHAYE
Delaunay-Belleville
DeLOREAN
DEMAG
DENNIS
Derways
DESOTO
DEUTZ
Devon
DIAMOND
DIXI
DKW
DODGE
DOME
Dongfeng
DONKERVOORT
DUBONNET
DUCATI
DUESENBERG
DYNAPAC
EAGLE
EBRO
EDSEL
EMW
ENVISION
EXEED
FACEL-VEGA
FAUN
FAW
FENDT
FERRARI
FIAT
FLEISCHER
FORD
FORDSON
FOTON
FRAMO
FREIGHTLINER
FSO
FWD
GAC
GEELY
GINAF
GLICKENHAUS
GMC
GOGGOMOBIL
GOLIATH
GORDON
GRAHAM
GREAT WALL
GREGOIRE
Greyhound
GUMPERT
GUY
HAMM
HANOMAG
HARLEY DAVIDSON
HAVAL
HEALEY
HENSCHEL
HESKETH
Hindustan
HINO
HISPANO SUIZA
HITACHI
HOLDEN
HONDA
HONGQI
HORCH
HOTCHKISS
HUDSON
HUMBER
HUMMER
HUSQVARNA
HYUNDAI
IAME
IFA
IKARUS
IMPERIAL
INFINITI
ING
INNOCENTI
INTERNATIONAL
INVICTA
IRISBUS
ISO
ISOTTA Fraschini
ISUZU
IVECO
JAGUAR
JAWA
JEEP
JELCZ
JENSEN
JINBEI
JMC
JUNGHEINRICH
Kaelble
KAISER
Kalmar
KAWASAKI
KENWORTH
KOENIGSEGG
KOMATSU
KRAMER
KRUPP
KTM
KURTIS
LA SALLE
LAGONDA
LAMBORGHINI
LANCIA
LAND ROVER
LANDINI
Lanz
Latil
Laurin & Klement
Laverda
LDS
LEXUS
LEYAT
LEYLAND
LEYTON
Li Auto
LIAZ
LIEBHERR
LIGIER
LINCOLN
LISTER
LLOYD
LOCOMOBILE
LOLA
LORENZ & RANKL
LORRAINE-DIETRICH
LOTEC
LOTUS
LUBLIN
LUCID
LYKAN
MACK
MAD MAX
MAGIRUS
MAN
MARCH
MARMON
MARUSSIA-VIRGIN
MASERATI
MASSEY
MATRA
MAVERICK
MAXIM
MAYBACH
MAZDA
MAZZANTI
MCA
McLAREN
MEGA
MELKUS
MERCEDES-BENZ
MERCER
MERCURY
MESSERSCHMITT
MG
MIG
MIKRUS
MINARDI
MINERVA
MINI
MIRAGE
MITSUBISHI
MITSUOKA
MONICA
MONTEVERDI
MORETTI
MORGAN
MORRIS
MOTO GUZZI
MULTICAR
MV
MZ
NASH
NEOPLAN
NEW HOLLAND
NICOLAS
NIO
NISSAN
NIVA CHEVROLET
NOBLE
NORMA
NSU
NYSA
OLDSMOBILE
OLTCIT
OM LEONCINO
OMODA
OPEL
OPTIMAS
ORECA
Osca
PACKARD
PAGANI
Panhard
PANOZ
PANTHER
PEGASO
PESCAROLO
PETERBILT
PEUGEOT
PHANOMEN
PIERCE Arrow
PININFARINA
PLYMOUTH
POLONEZ
PONTIAC
PORSCHE
PRAGA
PRIMA
PRINCE
PUCH
PUMA
RABA
RAM
RAMBLER
RED BULL
RELIANT
RENAULT
Robur
ROCAR
ROLLS-ROYCE
ROMAN
RONDEAU
ROSENBAUER
ROSENGART
ROVER
RUF
SAAB
SACHSENRING
SALEEN
SALMSON
SAMSUNG
SAN
SANDERO
SATURN
SAUBER
Saurer
SAVA
SAVIEM
SCAMMEL
SCANIA
SCION
Scuderia
SEAGRAVE
SEAT
SETRA
SHADOW
SHANGHAI
SHELBY
SIMCA
SIMPLEX
SIMSON
SINPAR
SKODA
SMART
SOMUA
Soueast
SPYKER
SSANG YONG
SSC
STANLEY
STAR
STEYR
STUDEBAKER
STUTZ
SUBARU
SUNBEAM
SUZUKI
SYRENA
TALBOT
TANK
TARPAN
TATA
TATRA
TEMPO
TESLA
THOMAS
THORNYCROFT
Toleman
TOYOACE
TOYOPET
TOYOTA
TRABANT
TRIUMPH
TUCKER
TUK
TVR
TYRRELL
UMM
UNIC
Van Hool
VANWALL
VAUXHALL
VECTOR
VELOREX
VENTURI
VERITAS
VESPA
Vincent
VOISIN
VOLKSWAGEN
VOLVO
W MOTORS
WANDERER
WARSZAWA
WARTBURG
WESTERN STAR
WHITE
WIESMANN
WILLEME
WILLIAMS
Willys
XIAOMI
YAMAHA
YANGTSE
YOSHIMURA
YUGO
ZAGATO
ZASTAVA
ZEEKR
ZUK
ZUNDAPP
Zunder
ZYTEK
АМО
БАЗ
БЕЛАЗ
ВАЗ
ВИС
ВНИИТЭ-ПТ
ГАЗ
ЕрАЗ
ЗАЗ
ЗИЛ
ЗИМ
ЗИС
ЗИУ
ИЖ
КАЗ
КАМАЗ
КИМ
КРАЗ
Кубань
ЛАЗ
Ленинград
ЛуаЗ
МАЗ
МоАЗ
МОСКВИЧ
МТБ
МТЗ
НАТИ
ОДАЗ
ПЕТРОВИЧ
ПУЗЫРЁВЪ
РАФ
РУССО-БАЛТ
СемАР
СМЗ
СТАРТ
ТАРТУ
УАЗ
Уралзис
Уральский
ЧЕТРА
ЧМЗАП
ЯАЗ
ЯТБ
Типы товаров
...
Декали
Запчасти, аксессуары
Элементы диорам
Авиация, Космос
Военная техника
Водный транспорт
Ж/Д транспорт
Автобус
Внедорожник / Кроссовер
Грузовик
Кемпер
Гужевая повозка
Легковой автомобиль
Микроавтобус / Фургон
Мотоцикл
Пикап
Прицепы
Тракторы, комбайны
Троллейбус
Фигурки
Масштаб
...
1:1
1:2
1:3
1:4
1:5
1:6
1:7
1:8
1:9
1:10
1:12
1:14
1:15
1:16
1:18
1:19
1:20
1:21
1:22
1:23
1:24
1:25
1:26
1:27
1:28
1:29
1:30
1:32
1:33
1:34
1:35
1:36
1:37
1:38
1:39
1:40
1:41
1:42
1:43
1:44
1:45
1:46
1:47
1:48
1:49
1:50
1:51
1:52
1:53
1:54
1:55
1:56
1:57
1:58
1:59
1:60
1:61
1:62
1:63
1:64
1:65
1:66
1:67
1:68
1:69
1:70
1:72
1:73
1:75
1:76
1:77
1:78
1:80
1:81
1:82
1:83
1:84
1:86
1:87
1:88
1:90
1:93
1:95
1:96
1:97
1:100
1:102
1:103
1:108
1:110
1:112
1:115
1:120
1:121
1:122
1:125
1:126
1:128
1:130
1:140
1:142
1:144
1:145
1:148
1:150
1:160
1:165
1:200
1:220
1:225
1:250
1:285
1:288
1:300
1:350
1:390
1:400
1:426
1:450
1:500
1:530
1:535
1:550
1:570
1:600
1:700
1:720
1:800
1:900
1:1000
1:1100
1:1200
1:1250
1:1500
1:2000
1:2500
1:2700
1:3000
Сбросить Все
найти
Главная
Доставка и оплата
Скидки
Мы тут
Контакты
Сотрудничество
-выберите свою страну-
Россия
Казахстан
Белоруссия (Беларусь)
Киргизия
Австралия
Австрия
Азербайджан
Албания
Алжир
Ангилья
Ангола
Андорра
Антарктида
Антигуа и Барбуда
Антильские (Нидерландские) острова
Аргентина
Армения
Аруба
Афганистан
Багамские острова
Бангладеш
Барбадос
Бахрейн
Белиз
Бельгия
Бенин
Бермудские острова
Болгария
Боливия
Босния и Герцеговина
Ботсвана
Бразилия
Британская территория в Индийском океане
Бруней
Буркина-Фасо
Бурунди
Бутан
Вануату
Ватикан
Великобритания
Венгрия
Венесуэла
Виргинские острова (Британские)
Виргинские острова (США)
Восточное Самоа
Восточный Тимор
Вьетнам
Габон
Гаити
Гайана
Гамбия
Гана
Гваделупа
Гватемала
Гвинея
Гвинея-Бисау
Германия
Гибралтар
Гондурас
Гонконг
Гренада
Гренландия
Греция
Грузия
Гуам
Дания
Джибути
Доминика
Доминиканская Республика
Египет
Заир
Замбия
Западная Сахара
Западное Самоа
Зимбабве
Израиль
Индия
Индонезия
Иордания
Ирак
Иран
Ирландия
Исландия
Испания
Италия
Йемен
Кабо-Верде
Каймановы острова
Камбоджа
Камерун
Канада
Катар
Кения
Кипр
Кирибати
Китайская Народная Республика
Кокосовые острова
Колумбия
Коморские острова
Конго
Корейская Народно-Демократическая Республика
Коста-Рика
Кот д'Ивуар
Куба
Кувейт
Лаос
Латвия
Лесото
Либерия
Ливан
Ливия
Литва
Лихтенштейн
Люксембург
Маврикий
Мавритания
Мадагаскар
Майотта
Макао
Македония
Малави
Малайзия
Мали
Мальдивы
Мальта
Марокко
Мартиника
Маршалловы острова
Мексика
Мелкие отдаленные острова США
Микронезия
Мозамбик
Молдова
Монако
Монголия
Монтсеррат
Мьянма
Намибия
Науру
Непал
Нигер
Нигерия
Нидерланды
Никарагуа
Ниуэ
Новая Зеландия
Новая Каледония
Норвегия
Нормандские острова
Объединенные Арабские Эмираты
Оман
Остров Буве
Остров Норфолк
Остров Рождества
Остров Святой Елены
Острова Кука
Острова Питкэрн
Острова Теркс и Кайкос
Пакистан
Палау
Панама
Папуа - Новая Гвинея
Парагвай
Перу
Польша
Португалия
Пуэрто-Рико
Республика Корея
Реюньон
Руанда
Румыния
Сальвадор
Сан-Марино
Сан-Томе и Принсипи
Саудовская Аравия
Свазиленд
Северные Марианские острова
Сейшельские острова
Сен-Пьер и Микелон
Сенегал
Сент-Винсент и Гренадины
Сент-Китс и Невис
Сент-Люсия
Сербия
Сингапур
Сирия
Словакия
Словения
Соединенные Штаты Америки
Соломоновы острова
Сомали
Судан
Суринам
Сьерра-Леоне
Таджикистан
Таиланд
Тайвань (провинция Китая)
Танзания
Того
Токелау
Тонга
Тринидад и Тобаго
Тувалу
Тунис
Туркменистан
Турция
Уганда
Узбекистан
Украина
Уоллис и Футуна
Уругвай
Фарерские острова
Фиджи
Филиппины
Финляндия
Фолклендские (Мальвинские) острова
Франция
Франция, Метрополия
Французская Гвиана
Французская Полинезия
Французские Южные территории
Херд и Макдональд, острова
Хорватия
Центрально-Африканская Республика
Чад
Черногория
Чешская республика
Чили
Швейцария
Швеция
Шпицберген и Ян Майен
Шри-Ланка
Эквадор
Экваториальная Гвинея
Эритрея
Эстония
Эфиопия
Южная Джорджия и Южные Сандвичевы острова
Южно-Африканская Республика
Ямайка
Япония
Город:
Русский
Рус
English
Eng
≡
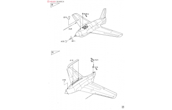
Сборная модель Messerschmitt Me 163C Prototypes
Производитель
Special Hobby
Категория
Военные
Тип
Авиация, Космос
Артикул
SH72258
Упаковка
коробка
Материал
пластик
Масштаб
1:72
Не является игрушкой, 14+
Наличие
склад магазина
нет в наличии
склад поставщика (поставка 9 дн.)
в наличии
ВНИМАНИЕ! Клей, краски и инструмент для сборки не входят в комплект! Вы можете приобрести эти товары отдельно на нашем сайте
1,590 р.
В корзину
изменить местоположение
Рекомендуем... (20)
1:48 Сборная модель советский истребитель Ла-5ФН
4801 / Звезда
1,290 р.
В корзину
1:48 Сборная модель Немецкий истребитель Мессершмитт BF-109 F2
4802 / Звезда
1,290 р.
В корзину
1:144 Сборная модель Российский сверхзвуковой стратегический бомбардировщик Ту-160
7002 / Звезда
1,330 р.
В корзину
1:72 Сборная модель Истребитель P-40B "Томагавк"
7201 / Звезда
500 р.
В корзину
1:72 Сборная модель Советский истребитель Ла-5 ФН
7203 / Звезда
430 р.
В корзину
1:72 Сборная модель Советский истребитель МиГ-3
7204 / Звезда
430 р.
В корзину
1:72 Сборная модель Истребитель - бомбардировщик Су-27
7206 / Звезда
1,290 р.
В корзину
1:72 Сборная модель Истребитель пятого поколения Су-47
7215 / Звезда
1,300 р.
В корзину
1:72 Сборная модель Су-25 Советский штурмовик
7227 / Звезда
1,290 р.
В корзину
1:72 Сборная модель истребитель перехватчик МиГ-31
7229 / Звезда
1,150 р.
В корзину
1:72 Сборная модель Истребитель П-39 "Аэрокобра"
7231 / Звезда
430 р.
В корзину
1:72 Сборная модель истребитель Су-35
7240 / Звезда
1,170 р.
В корзину
1:72 Сборная модель Российский истребитель Су-37
7241 / Звезда
1,290 р.
В корзину
1:72 Сборная модель Российский истребитель МиГ 1.44
7252 / Звезда
1,290 р.
В корзину
1:72 Сборная модель Фронтовой бомбардировщик Су-24
7265 / Звезда
1,290 р.
В корзину
1:72 Сборная модель Истребитель АНТ-5 (А.Н.Туполев)
7271 / Звезда
440 р.
В корзину
1:72 Сборная модель Су-27УБ Русские витязи
7277 / Звезда
1,290 р.
В корзину
1:72 Сборная модель Самолет "Ил-2" (1942)
7279 / Звезда
990 р.
В корзину
1:144 Сборная модель Советский самолет Ил-2 НС-37
6125 / Звезда
400 р.
В корзину
1:72 Сборная модель Противолодочный вертолёт Ка-27
7214 / Звезда
880 р.
В корзину